1. Definizione di tasselli per olio metrico (ISO 6149-4: versione 2017) e tappi sono comunemente utilizzati nel sistema idraulico ad alta pressione, spina è maschio perno metrico per collegare valvole, blocco manifold, porta di scarico dell'olio ecc, ci sono due tenuta da O -ring e anello ED. I tappi DIN sono costituiti da dado, tappo DKO per l'arresto delle estremità dei tubi.
2. Metodi di montaggio dei tappi per olio metrici come da: Terminale maschio con esagono esterno e tappo con attacco esagonale interno per ISO 9974 Faccia piatta e ISO 6149 O-ring Attacco di tenuta, tutti i filetti metrici sono conformi alla norma ISO 261. Perché è facile fermare o terminare la linea del tubo dell'olio con un connettore terminale.
Tappo DIN per connettore (da 24 ° Cono a tubo E DKO Girevole all'adattatore)


Connettore DIN metrico per olio su collettore, valvole e distributore ecc.
|
|
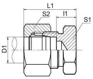
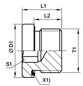
1. Connettore DIN metrico esterno esagonale 4C / D
Connettore a cono 24 gradi


PARTE NO. | FILO | TUBO OD | DIMENSIONI | MPa | |||
E | D1 | l1 | L1 | S1 | S2 | ||
4C-12 | M12x1.5 | 6 | 7 | 22 | 12 | 14 | 31.5L |
4C-14 | M14x1.5 | 8 | 8 | 23 | 14 | 17 | |
4C-16 | M16x1.5 | 10 | 9 | 24 | 17 | 19 | |
4C-18 | M18x1.5 | 12 | 10 | 25 | 19 | 22 | |
4C-22 | M22x1.5 | 15 | 11 | 26 | 24 | 27 | |
4C-26 | M26X1.5 | 18 | 11.5 | 28 | 27 | 32 | |
4C-30 | M30x2 | 22 | 13.5 | 30 | 32 | 36 | 16L |
4C-30D | M30x1,5 | 22 | 13.5 | 30 | 32 | 36 | |
4C-36 | M36x2 | 28 | 14.5 | 31 | 41 | 41 | |
4C-36D | M36x1.5 | 28 | 14.5 | 31 | 41 | 41 | |
4C-45 | M45X2 | 35 | 14.5 | 36 | 46 | 50 | |
4C-45D | M45X1.5 | 35 | 14.5 | 36 | 46 | 50 | |
4C-52 | M52x2 | 42 | 16 | 39 | 55 | 60 | |
4D-14 | M14X1.5 | 6 | 11 | 26 | 14 | 17 | 63S |
4D-16 | M16X1.5 | 8 | 13 | 28 | 17 | 19 | |
4D-18 | M18x1.5 | 10 | 12.5 | 29 | 19 | 22 | |
4D-20 | M20x1,5 | 12 | 14.5 | 31 | 22 | 24 | |
4D-22 | M22x1.5 | 14 | 16 | 34 | 24 | 27 | |
4D-24 | M24x1.5 | 16 | 15.5 | 34 | 27 | 30 | ANNI 40 |
4D-30 | M30x2 | 20 | 17.5 | 39 | 32 | 36 | |
4D-36 | M36x2 | 25 | 20 | 44 | 38 | 46 | |
4D-42 | M42x2 | 30 | 20.5 | 47 | 46 | 50 | |
4D-52 | M52x2 | 38 | 23 | 54 | 55 | 60 | 31.5S |
Nota Nel caso in cui siate interessati ad ordinare l'adattatore in set completo con anello tagliente e dado, è necessario inserire il suffisso "RN" dopo il nostro n. per esempio 4C-30RN. | |||||||
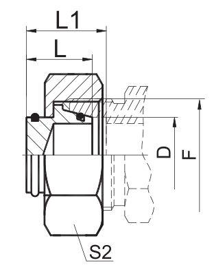
2. DIN Metrric Cap Swivel 9C / D
DKO Swivel

PARTE NO. | Threa | TUBO OD | DIMENSIONI | MPa | ||
F | D | L | L1 | S2 | ||
9C-12 | M12x1.5 | 6 | 15.5 | 17.5 | 14 | 31.5L |
9C-14 | M14X1.5 | 8 | 15.5 | 18 | 17 | |
9C-16 | M16X1.5 | 10 | 16,5 | 18 | 19 | |
9C-18 | M18x1.5 | 12 | 18 | 19.5 | 22 | |
9C-22 | M22x1.5 | 15 | 19.5 | 20 | 27 | |
9C-26 | M26X1.5 | 18 | 20 | 22 | 32 | |
9C-30 | M30x2 | 22 | 21.5 | 22.5 | 36 | 16L |
9C-36 | M36X2 | 28 | 22.5 | 24.5 | 41 | |
9C-45 | M45X2 | 35 | 25 | 29 | 55 | |
9C-52 | M52x2 | 42 | 27 | 31.5 | 60 | |
9D-14 | M14X1.5 | 6 | 16 | 18 | 17 | 63S |
9D-16 | M16X1.5 | 8 | 16,5 | 18.5 | 19 | |
9D-18 | M18x1.5 | 10 | 18 | 20 | 22 | |
9D-20 | M20X1.5 | 12 | 18.5 | 20.5 | 24 | |
9D-22 | M22x1.5 | 14 | 19 | 21.5 | 27 | |
9D-24 | M24x1.5 | 16 | 18.5 | 21.5 | 30 | ANNI 40 |
9D-30 | M30x2 | 20 | 22.5 | 25 | 36 | |
9D-36 | M36X2 | 25 | 23.5 | 28.5 | 46 | |
9D-42 | M42X2 | 30 | 25.5 | 32 | 50 | |
9D-52 | M52x2 | 38 | 26,5 | 36 | 60 | 31.5S |
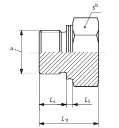
3. Connettore DIN metrico esterno esagonale PLEG
4H Per la tenuta dell'O-ring ISO 6149 per la porta dell'olio


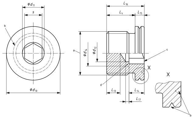
4. Spina porta interna esagonale ISO PLIH
VSTI M-OR Per tenuta olio O-ring ISO 6149



5. Spina metrica Hex esagonale VSTI M / R ED
EDM-seal maschio metrico 4MN-WD (per porta ISO 9974)
Sigillante ED-seal con filettatura maschio BSPP 4BN-WD (per porta ISO 1179)


Etichetta sexy: tappi tappi metrici, Cina, produttori, fornitori, custom, ottone, swagelok, Parker, Stauff, Brennan, acciaio inossidabile



















